產品中心

對夾圓片式止回閥
來源:
上海鑄創閥門 日期:
2010-8-23 11:33:10 人氣:
標簽:
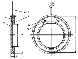
◆ 概述: 本廠生產的H74Ⅰ型、Ⅱ型對夾圓片式止回閥,是一種超薄形止回閥,它具有結構簡單,外形美觀、重量輕,安裝方便等優點。該閥主要適用于給水系統、石油、化工、冶金等工業部門對有安裝空間限制的場所最為適用。 | |
| |
◆ 主要技術參數:
|
工作壓力 |
1.6MPa |
|
工作溫度 |
t≤400℃ |
|
適用介質 |
油、水、酸堿等液體 | |
| |
|
|
 |
公稱通徑 DN(mm) |
d |
L |
D |
| I型 |
II型 |
PN1.0 |
PN1.6 |
PN2.5 |
PN4.0 |
| 50 |
25 |
15 |
22 |
109 |
109 |
109 |
109 |
| 65 |
38 |
15 |
22 |
129 |
129 |
129 |
129 |
| 80 |
46 |
15 |
22 |
144 |
144 |
144 |
144 |
| 100 |
72 |
15 |
24 |
164 |
164 |
170 |
170 |
| 125 |
95 |
16 |
26 |
194 |
194 |
186 |
186 |
| 150 |
114 |
19 |
29 |
221 |
221 |
226 |
226 |
| 200 |
140 |
29 |
43 |
275 |
275 |
286 |
293 |
| 250 |
188 |
29 |
43 |
330 |
331 |
343 |
355 |
| 300 |
216 |
38 |
50 |
380 |
386 |
403 |
420 |
| 350 |
263 |
41 |
52 |
440 |
446 |
460 |
477 |
| 400 |
305 |
51 |
62 |
491 |
498 |
517 |
549 |
| 450 |
356 |
51 |
62 |
541 |
558 |
567 |
574 |
| 500 |
406 |
65 |
80 |
596 |
620 |
627 |
631 |
| 600 |
482 |
70 |
90 |
698 |
737 |
734 |
750 | |
阻火呼吸閥廠家哪家好|管道阻火器采購價格|籃式過濾器型號作用原理
地址:上海金山楓涇工業區亭楓公路888號 總機:021-60899938 傳真:021-56623267
版權所有:上海鑄創閥門有限公司
滬ICP備11021531號-1